Qingdao Xin Aneng కన్వేయింగ్ మెషినరీ కో., లిమిటెడ్.
Qingdao Xin Aneng కన్వేయింగ్ మెషినరీ కో., లిమిటెడ్.
వార్తలు

క్లీనర్ ప్రోటోకాల్ నిర్ణయం

1.1 క్లీనర్ ప్రోగ్రామ్ యొక్క నిర్ధారణ

కట్టుబడి ఉన్న బొగ్గు దుమ్ము యొక్క అంటుకునే టేప్‌ను తుడుచుకోండి. మనందరికీ తెలిసినట్లుగా, మైనింగ్ ముఖం నుండి రవాణా చేయబడిన ముడి బొగ్గు వేర్వేరు స్థాయిల తేమను కలిగి ఉంటుంది మరియు టేప్ యొక్క ఉపరితలంపై చక్కటి పల్వరైజ్డ్ బొగ్గును బంధించడం సులభం. టేప్‌తో బంధించబడిన పల్వరైజ్డ్ బొగ్గు శుభ్రం చేయకపోతే, పల్వరైజ్డ్ బొగ్గును బెల్ట్ స్టోరేజ్ బిన్ మరియు మొత్తం దిగువ బెల్ట్ కింద రోలర్‌ను ఖాళీ విభాగంలో (అనగా, దిగువ బెల్ట్) తీసుకువస్తారు మరియు ఇది ప్రధానంగా బెల్ట్ స్టోరేజ్ డబ్బాలో జమ చేయబడుతుంది.

ప్రధాన ఫలితాలు:

బెల్ట్ స్టోరేజ్ బిన్‌లో పెద్ద మొత్తంలో పల్వరైజ్డ్ బొగ్గు పేరుకుపోతుంది, ఇది మద్దతు రోలర్‌ను ఖననం చేస్తుంది, దీనివల్ల రోలర్ పనిచేయడంలో విఫలమవుతుంది మరియు బెల్ట్ యొక్క సేవా జీవితాన్ని ప్రభావితం చేస్తుంది;

2) బెల్ట్ ఆపరేషన్ యొక్క విచలనం అంచు ఉరి లేదా చిరిగిపోయే ప్రమాదానికి కారణమవుతుంది;

3) టేప్ యొక్క రన్నింగ్ నిరోధకతను పెంచండి మరియు ఖర్చును పెంచండి;

4) బొగ్గు శుభ్రం చేసిన మొత్తం పెరుగుతుంది, ఇది కార్మికుల శ్రమ తీవ్రతను పెంచుతుంది;

బొగ్గు క్లీనర్ల వాడకంలో, పరిష్కరించాల్సిన మూడు సమస్యలు ఉన్నాయి:

1) శుభ్రపరిచే ప్రభావం మంచిది;

2) క్లీనర్ భర్తీ చేయడం సులభం, మరియు నిర్వహణ పనిభారం చిన్నదిగా ఉండాలి;

3) శుభ్రం చేయబడిన పల్వరైజ్డ్ బొగ్గుకు ఒక మార్గం ఉండాలి.

1. ప్రస్తుత పరిస్థితి యొక్క విశ్లేషణ

1) సాంప్రదాయ బొగ్గు క్లీనర్ యొక్క నిర్మాణం మరియు స్థానం


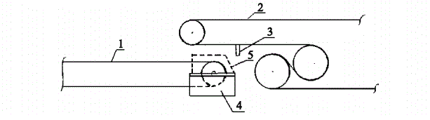
మూర్తి 2-1 నుండి చూడగలిగినట్లుగా, బొగ్గు క్లీనర్ సాధారణంగా డ్రమ్ వెనుక భాగంలో వ్యవస్థాపించబడుతుంది. బొగ్గు క్లీనర్ బొగ్గు క్లీనర్ ఫ్రేమ్‌ను రూపొందించడానికి రెండు స్ప్లింట్ల మధ్యలో టేప్ యొక్క భాగాన్ని పరిష్కరించడం, పిన్ మరియు లివర్ స్ట్రక్చర్‌ను ఉపయోగించడం, బొగ్గు క్లీనర్ టేప్ శుభ్రపరచడానికి బోలు టేప్‌కు అంటుకునేలా చేయడానికి, బొగ్గు యొక్క ఉద్రిక్తతను ఉపయోగించండి బొగ్గు శుభ్రంగా మరియు బోలు బెల్ట్ ఒక నిర్దిష్ట ఒత్తిడిని కలిగిస్తుంది మరియు బొగ్గు శుభ్రపరిచే విషయాన్ని ధరిస్తారు.

2) సాంప్రదాయ బొగ్గు క్లీనర్ల లోపాలు

ఎ. బొగ్గు క్లీనర్ శుభ్రపరిచే టేప్‌తో కూడి ఉంటుంది, మరియు దిగువ బెల్ట్ బోలు బెల్ట్ కనుక, బొగ్గు క్లీనర్ యొక్క ఒత్తిడిలో బెల్ట్ పైకి తేలుతుంది, బొగ్గు క్లీనర్ యొక్క ఒత్తిడి సరిపోదు, మరియు శుభ్రపరిచే ప్రభావం తక్కువగా ఉంది.

6. బొగ్గు క్లీనర్ అన్‌లోడ్ డ్రమ్ వెనుక భాగంలో ఉంటుంది, మరియు సాధారణంగా సంస్థాపనా పరిస్థితుల ప్రకారం అన్‌లోడ్ డ్రమ్ నుండి 1 మీ.

సి. బొగ్గు క్లీనర్ యొక్క పున ment స్థాపన పనిభారం పెద్దది, ఇది బొగ్గు క్లీనర్ దెబ్బతినడం సులభం చేస్తుంది మరియు భర్తీ చక్రం కూడా చాలా తక్కువ.

3) సాధారణ బెల్ట్ రవాణా ల్యాప్ జాయింట్

ఒక సాధారణ బెల్ట్ రవాణా ల్యాప్ మూర్తి 2-2 లో చూపబడింది.

మూర్తి 2-2 నుండి చూడగలిగినట్లుగా, బొగ్గు క్లీనర్ కింద ఉన్న బొగ్గు నేరుగా బెల్ట్‌పై జారిపోదు, మరియు "బొగ్గు గని భద్రతా నిబంధనలు" యొక్క నిబంధనల ప్రకారం, అన్ని పరికరాల యొక్క 35 నడుస్తున్న భాగాలను రక్షిత పరికరంతో అమర్చాలి (అనగా, ఒక కవచం), కాబట్టి ఒక బెల్ట్ కవచంతో అమర్చబడి, బొగ్గు సమస్య పెరిగింది.

సంబంధిత వార్తలు
నాకు సందేశం పంపండి
X
మీకు మెరుగైన బ్రౌజింగ్ అనుభవాన్ని అందించడానికి, సైట్ ట్రాఫిక్‌ను విశ్లేషించడానికి మరియు కంటెంట్‌ను వ్యక్తిగతీకరించడానికి మేము కుక్కీలను ఉపయోగిస్తాము. ఈ సైట్‌ని ఉపయోగించడం ద్వారా, మీరు మా కుక్కీల వినియోగానికి అంగీకరిస్తున్నారు. గోప్యతా విధానం
తిరస్కరించు అంగీకరించు